CD264 SERIES

 ALUMINUM ELECTROLYTIC CAPACITORS

   ●   Long useful life of 3000 hours at 105, equal to 96000 hours

(11 years) at 55

    ● Polarized capacitors; Non-solid; Pressure relief      

     ● High rated voltage, up to 450V    

     ● For electronic ballast, lighting, monitors, general industrial use

     Filtering of high voltages in power supplies

 

  • SPECIFICATIONS

Item Characteristics
Operating Temperature Range(oC) -40~+105 -25~+105
Rated Voltage Range (V) 160~250 350~450
Nominal capacitance range (uF) 1~220
Capacitance Tolerance(20oC,120Hz) +/-20%
Leakage current (uA)

                CV1000, I0.06CV+40μA (1 minute) ; CV>1000, I0.03CV+70μA (1 minute)                 C: Nominal Capacitance (μF),    V: Rated Voltage (V)

Dissipation Factor(20oC,120Hz)
Rated voltage (v) 160 200 250 350 400 450
D.F. 0.12 0.10 0.10 0.15 0.15 0.15
Temperature Stability(120Hz)
Rated voltage (v) 160 200 250 350 400 450
Z-40℃/Z+20℃ 4 4 4 6 6 6
Load Life(+105oC)
Time 3000 hours
Leakage Current Not more than the specified value.
Capacitance Change Within +/-20% of the initial value.
Dissipation Factor Not more than 300% of the specified value.
Shelf Life(+105oC)

 

Time 1000hours
Leakage current Not more than 300% of the specified value
Capacitance change withiną20% of initial value
Dissipation Factor Not more than 200% of the specified value.

 After test: Rated voltage to be applied for 30minutes, 24 to 48 hours before measurement.

                   

 
 
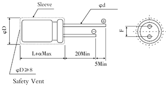
  • DIMENSIONS      MM             
  • MULTIPLIER FOR RIPPLE CURRENT
 

Lead spacing and diameter

D+/-0.5 10 12.5 16 18
F+/-0.5  5.0 5.0  7.5  7.5
d+/-0.1   0.6   0.6  0.8  0.8
a 1.5 (L16); 2.0 (L>16)

Frequency Coefficient

    Freq(Hz)

50,60

100

300

1K

10K-

Factor

0.75

1.00

1.20

1.40

1.50

Temperature Coefficient   

Temp.( )

+70

+85

+105

Factor

1.8

1.4

1.0

  • STANDARD RATINGS
WV 160               200 250
Size Z ESR Ripple  Size Z ESR Ripple  Size Z ESR Ripple 
Cap

(uF)

 
DxL(mm) (ohm) (ohm) (mA) DxL(mm) (ohm) (ohm) (mA) DxL(mm) (ohm) (ohm) (mA)

4.7

 -

 -

 -

 -

10x12.5

13.0

41

60

10x12.5

13.0

41

60

10

10x16

6.3

19

95

10x16

6.3

19

95

10x20

6.3

19

105

22

 10x20

 3.2

9

145

10x20

3.2

9

145

12.5x25

3.2

9

180

16x20

33

12.5x20

2.3

6

190

12.5x20

2.3

6

190

12.5x25

2.3

6

250

16x20

47

12.5x25

1.7

4

280

12.5x25

1.7

4

280

16x25

1.7

4

300

18x20

16x20

16x20

100

16x25

1.1

2

380

16X31.5

1.1

2

400

16X31.5

1.1

2

410

18x20

18X25

18X25

220

18x35.5

0.7

0.9

630

-

-

-

-

-

-

-

-

 

WV 350               400 450
Size Z ESR Ripple  Size Z ESR Ripple  Size Z ESR Ripple 
Cap

(uF)

 
DxL(mm) (ohm) (ohm) (mA) DxL(mm) (ohm) (ohm) (mA) DxL(mm) (ohm) (ohm) (mA)
1.0

 -

 -

 -

 -

- - - -

10x12.5

94 318 30

2.2

 -

 -

- -

10x12.5

33 109 40

10x16

43 145 45

3.3

10x12.5

22 72 50

10x16

22 72 50

10X20

29 96 65

4.7

10x16

16 51 65

10x20

16 51 70

12.5x20

20 68 80

10

12.5x20

7.6 24 120

12.5x20

7.6 24 120

16x20

10 32 140

22

12.5x25

3.8 11 180

16X25

3.8 11 200

16X31.5

4.6 14 225

16x20

18X20

18X25

33 16x25 2.6 7 210 16X31.5 2.6 7 245 18X35.5 3.4 10 280
18X25

47

16x35.5

2.6 5.5 295 18X31.5 2.0 5 310

-

-

-

-

 

Unless otherwise specified, all electrical values apply at Tamb+20℃

Ripple Current(mA rms) at 105℃,120Hz; ESR: Equivalent series resistance at 120Hz (calculated from tanδMax and CR);  Z: Max impedance at 10KHz

The specific capacitance and case size are available on request.

 

   

 
 
 
How to order   - part numbering system